首页
专利数据库
产业人才
行业动态
产业政策法规
维权援助
个人中心
登录/注册
详情
文本
图像
标题:
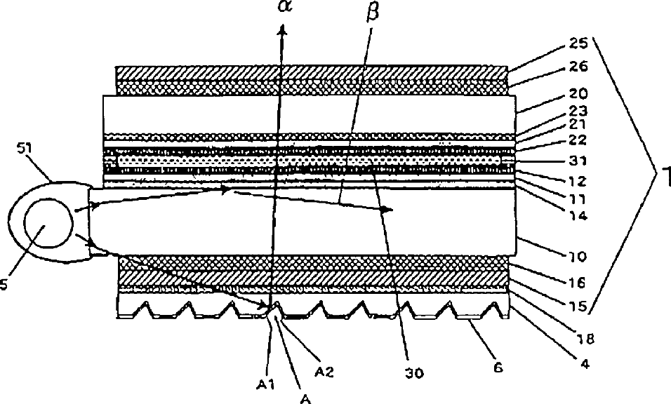
Liquid-crystal dispaly device
授权日:
1900-01-01
公开(公告)号:
US20030043315A1
申请日:
2002-08-22
公开(公告)日:
2003-03-06
当前申请(专利权)人:
NITTO DENKO CORPORATION
发明人:
UMEMOTO, SEIJI | KINOSHITA, RYOJI | NAKANO, YUUKI | AMINO, ICHIRO | ARIYOSHI, TOSHIHIKO
简单同族:
US20030043315A1 | US7030945
简单同族成员数量:
2
简单同族被引用专利总数:
76
诉讼案件数:
0
法律状态/事件:
未缴年费 | 权利转移