标题:
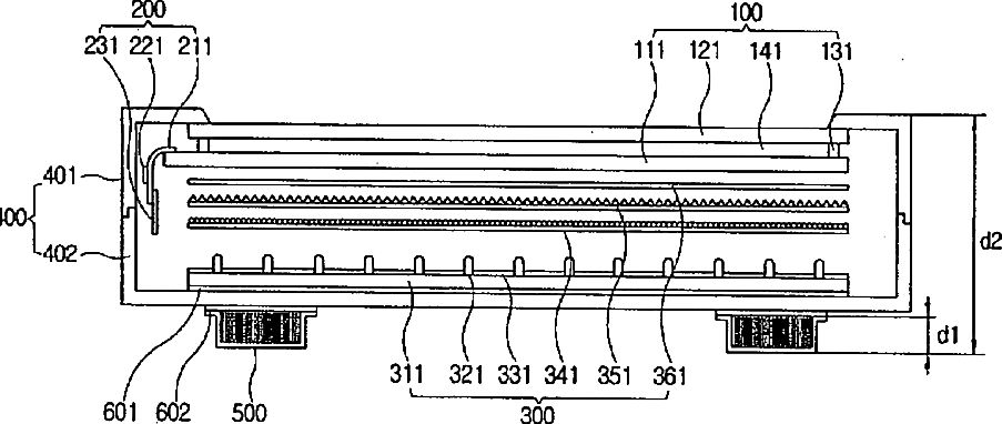
Cooling apparatus and liquid crystal display device having the same
授权日:
1900-01-01
公开(公告)号:
US20060132699A1
申请日:
2005-12-20
公开(公告)日:
2006-06-22
当前申请(专利权)人:
SAMSUNG DISPLAY CO., LTD.
发明人:
CHO, JOO-WOAN | SONG, CHUN-HO | KANG, SEOCK -HWAN | KIM, GI-CHERL | PARK, SE-KI | LEE, SANG-GIL | LEE, JONG-SEO | LEE, SANG-YU | YOON, JU-YOUNG
简单同族:
KR1020060070176A | US20060132699A1
简单同族成员数量:
2
简单同族被引用专利总数:
130
诉讼案件数:
0
法律状态/事件:
撤回 | 权利转移