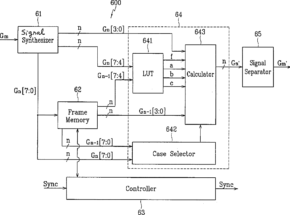
标题:
Liquid crystal display and method of modifying gray signals for the same
授权日:
1900-01-01
公开(公告)号:
US20030210217A1
申请日:
2003-05-01
公开(公告)日:
2003-11-13
当前申请(专利权)人:
SAMSUNG DISPLAY CO., LTD.
发明人:
LEE, BAEK-WOON
简单同族:
AU2002325565A1 | CN100365692C | CN1625764A | JP2004004829A | JP4958382B2 | KR100878267B1 | KR1020030087275A | TW563085B | US20030210217A1 | US20070001955A1 | US7123224 | US7573450 | WO2003096316A1
简单同族成员数量:
13
简单同族被引用专利总数:
61
诉讼案件数:
0
法律状态/事件:
未缴年费 | 权利转移