首页
专利数据库
产业人才
行业动态
产业政策法规
维权援助
个人中心
登录/注册
详情
文本
图像
标题:
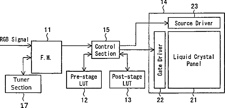
Display device, liquid crystal monitor, liquid crystal television receiver, and display method
授权日:
2011-05-03
公开(公告)号:
US7936325
申请日:
2006-02-28
公开(公告)日:
2011-05-03
当前申请(专利权)人:
SHARP KABUSHIKI KAISHA
发明人:
MIYATA, HIDEKAZU
简单同族:
JP4567052B2 | JPWO2006098148A1 | US20090121994A1 | US7936325 | WO2006098148A1
简单同族成员数量:
5
简单同族被引用专利总数:
110
诉讼案件数:
0
法律状态/事件:
授权 | 权利转移