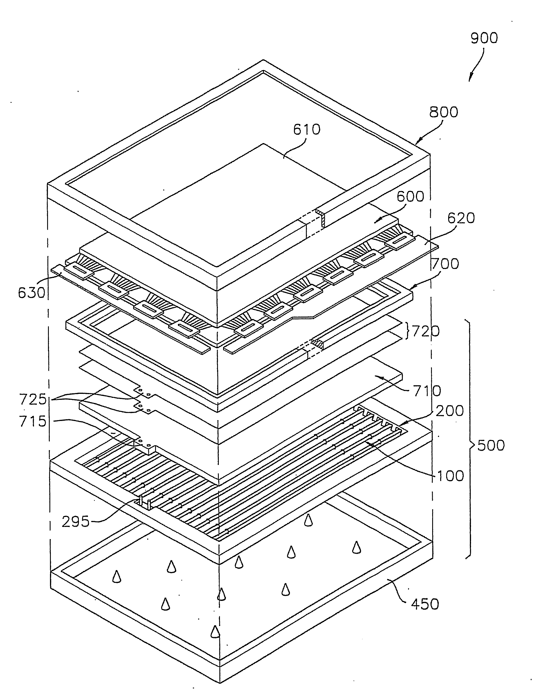
标题:
Liquid crystal display device including a cold cathode fluorescent lamp and container for receiving the same
授权日:
1900-01-01
公开(公告)号:
US20100007820A1
申请日:
2009-09-23
公开(公告)日:
2010-01-14
当前申请(专利权)人:
SAMSUNG DISPLAY CO., LTD.
发明人:
YOO, HYEONG-SUK | LEE, KEUN-WOO | PARK, JONG-DAE | JUNG, JAE-HO
简单同族:
AU2002249636A1 | CN100468610C | CN1575505A | JP2003197154A | JP2007220673A | JP4153968B2 | KR100731304B1 | KR1020030050831A | TWI275732B | US20030112626A1 | US20050231979A1 | US20100007820A1 | US6905224 | US7607791 | US8007123 | WO2003052791A1
简单同族成员数量:
16
简单同族被引用专利总数:
137
诉讼案件数:
0
法律状态/事件:
未缴年费 | 权利转移