首页
专利数据库
产业人才
行业动态
产业政策法规
维权援助
个人中心
登录/注册
详情
文本
图像
标题:
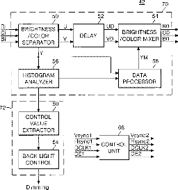
Method and apparatus for driving liquid crystal display
授权日:
2008-11-11
公开(公告)号:
US7450104
申请日:
2004-06-28
公开(公告)日:
2008-11-11
当前申请(专利权)人:
LG DISPLAY CO., LTD.
发明人:
BAIK, SEONG HO
简单同族:
CN100367340C | CN1619627A | JP2005148708A | JP4272595B2 | KR100580552B1 | KR1020050047358A | US20050104839A1 | US7450104
简单同族成员数量:
8
简单同族被引用专利总数:
140
诉讼案件数:
0
法律状态/事件:
授权 | 权利转移