首页
专利数据库
产业人才
行业动态
产业政策法规
维权援助
个人中心
登录/注册
详情
文本
图像
标题:
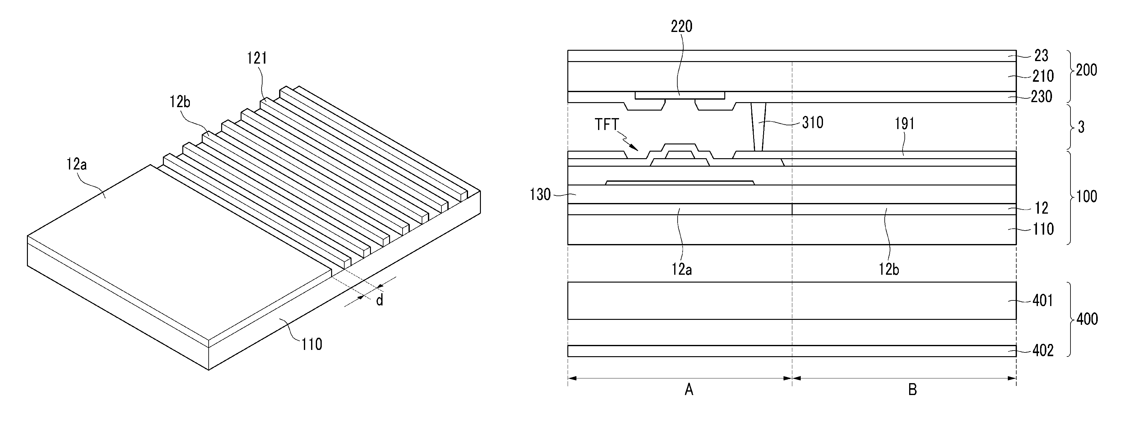
Liquid crystal display
授权日:
2013-09-03
公开(公告)号:
US8525958
申请日:
2010-12-28
公开(公告)日:
2013-09-03
当前申请(专利权)人:
SAMSUNG DISPLAY CO., LTD.
发明人:
LEE, MOON GYU
简单同族:
KR1020110101893A | US20110222002A1 | US8525958
简单同族成员数量:
3
简单同族被引用专利总数:
54
诉讼案件数:
0
法律状态/事件:
授权 | 权利转移