标题:
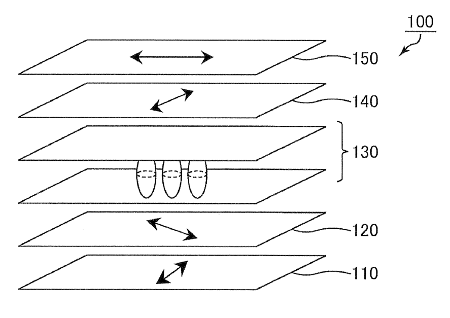
Liquid crystal display device
授权日:
1900-01-01
公开(公告)号:
US20110025966A1
申请日:
2009-10-09
公开(公告)日:
2011-02-03
当前申请(专利权)人:
SHARP KABUSHIKI KAISHA
发明人:
SAKAI, AKIRA
简单同族:
BRPI0923744A2 | CN102246091A | CN102246091B | EP2383604A1 | EP2383604A4 | EP2383604B1 | JP2010256900A | JP4669909B2 | JP5248546B2 | JPWO2010087058A1 | RU2011117146A | RU2445664C1 | RU2460107C1 | US20110025966A1 | US20110181814A1 | US20120188492A1 | US8194212 | US8314908 | US8416377 | WO2010087058A1
简单同族成员数量:
20
简单同族被引用专利总数:
57
诉讼案件数:
0
法律状态/事件:
授权 | 权利转移