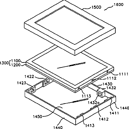
标题:
Liquid crystal display apparatus having particular fixing grooves and fixing protuberances in rear case
授权日:
2007-12-04
公开(公告)号:
US7304693
申请日:
2006-09-12
公开(公告)日:
2007-12-04
当前申请(专利权)人:
SAMSUNG DISPLAY CO., LTD.
发明人:
KIM, DONG-CHEOL | CHU, YOUNG-BEE | KANG, TAE-GIL | LEE, YOUNG-JAE | KIM, JUNG-KI | CHOI, JAE-CHANG | OH, JEONG-SEOK | KWAK, YONG-SEOK
简单同族:
CN100489760C | CN1409207A | JP2003107434A | JP4319371B2 | KR100793729B1 | KR1020030028152A | US20030058380A1 | US20050179832A1 | US20070008452A1 | US6919937 | US7126651 | US7304693
简单同族成员数量:
12
简单同族被引用专利总数:
164
诉讼案件数:
0
法律状态/事件:
未缴年费 | 权利转移