首页
专利数据库
产业人才
行业动态
产业政策法规
维权援助
个人中心
登录/注册
详情
文本
图像
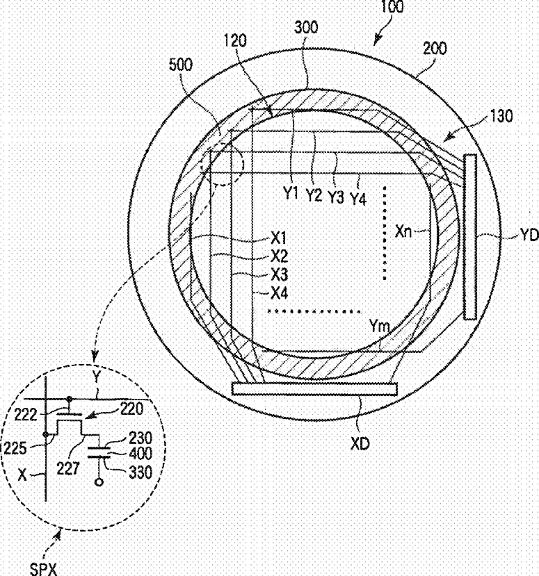
标题:
Liquid crystal display device
授权日:
1900-01-01
公开(公告)号:
US20100020277A1
申请日:
2009-07-23
公开(公告)日:
2010-01-28
当前申请(专利权)人:
JAPAN DISPLAY CENTRAL INC.
发明人:
MORITA, SHIN
简单同族:
JP2010032638A | JP5197206B2 | US20100020277A1 | US8248559
简单同族成员数量:
4
简单同族被引用专利总数:
58
诉讼案件数:
0
法律状态/事件:
授权 | 权利转移