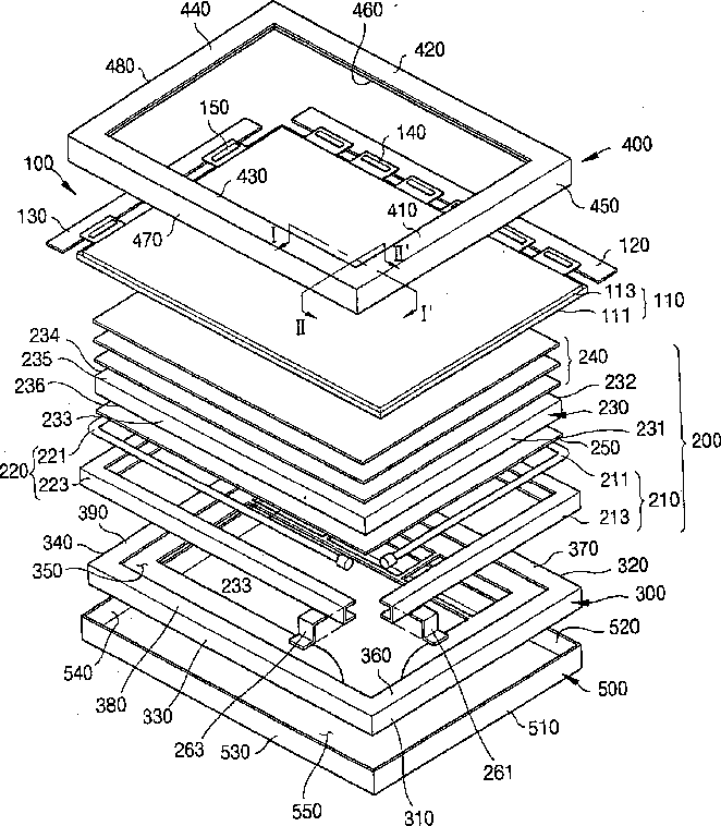
标题:
Backlight assembly and liquid crystal display apparatus having the same
授权日:
1900-01-01
公开(公告)号:
US20050140844A1
申请日:
2003-02-10
公开(公告)日:
2005-06-30
当前申请(专利权)人:
SAMSUNG DISPLAY CO., LTD.
发明人:
WON, YONG-GWANG | PARK, JONG-DAE | LEE, SEOK-WON
简单同族:
AU2003208038A1 | CN100409074C | CN1656412A | JP2005528748A | JP4142642B2 | KR100840718B1 | KR1020030092879A | US20050140844A1 | US20060239035A1 | US7086761 | WO2003102680A1
简单同族成员数量:
11
简单同族被引用专利总数:
53
诉讼案件数:
0
法律状态/事件:
未缴年费 | 权利转移