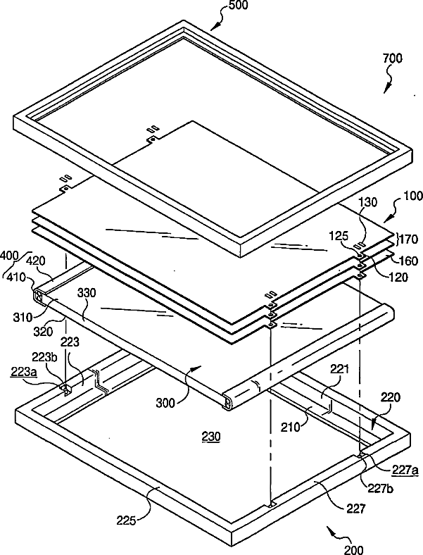
标题:
Backlight assembly using the same and liquid crystal display device
授权日:
1900-01-01
公开(公告)号:
US20050243238A1
申请日:
2003-02-20
公开(公告)日:
2005-11-03
当前申请(专利权)人:
SAMSUNG DISPLAY CO., LTD.
发明人:
CHA, GUY-HO | PARK, JONG-DAE | CHANG, SE-IN | LEE, SEOK-WON
简单同族:
AU2003212659A1 | CN100376954C | CN1672091A | EP1535105A1 | JP2005534071A | JP4485358B2 | KR1020040009902A | US20050243238A1 | US7224416 | WO2004011997A1
简单同族成员数量:
10
简单同族被引用专利总数:
126
诉讼案件数:
0
法律状态/事件:
未缴年费 | 权利转移