标题:
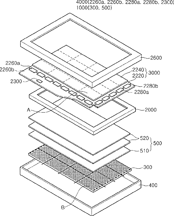
Backlight assembly, method for driving backlight assembly, and liquid crystal display having the same
授权日:
1900-01-01
公开(公告)号:
US20090021469A1
申请日:
2008-07-11
公开(公告)日:
2009-01-22
当前申请(专利权)人:
SAMSUNG DISPLAY CO., LTD.
发明人:
YEO, DONG MIN | KIM, GI CHERL | YANG, BYUNG CHOON | PARK, SE KI | KWON, YONG HOON
简单同族:
KR101381350B1 | KR1020090009582A | US20090021469A1 | US8711080
简单同族成员数量:
4
简单同族被引用专利总数:
65
诉讼案件数:
0
法律状态/事件:
未缴年费 | 权利转移