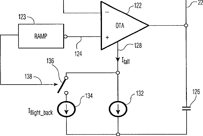
标题:
Slow rate controlled ramp and its use in liquid crystal displays
授权日:
2003-12-30
公开(公告)号:
US6670941
申请日:
2001-10-22
公开(公告)日:
2003-12-30
当前申请(专利权)人:
KONINKLIJKE PHILIPS ELCTRONICS N.V.
发明人:
ALBU, LUCIAN REMUS | JANSSEN, PETER J.
简单同族:
CN1575545A | EP1440508A1 | JP2005506792A | KR1020040045894A | US20030076285A1 | US6670941 | WO2003036793A1
简单同族成员数量:
7
简单同族被引用专利总数:
130
诉讼案件数:
0
法律状态/事件:
未缴年费 | 权利转移