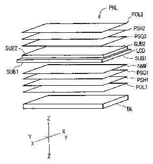
标题:
Liquid crystal display device with particular phase plates having specific axis angles
授权日:
2010-06-01
公开(公告)号:
US7728932
申请日:
2008-11-19
公开(公告)日:
2010-06-01
当前申请(专利权)人:
PANASONIC LIQUID CRYSTAL DISPLAY CO., LTD.
发明人:
FUKUDA, KOICHI | NAKAMURA, YOSHIAKI
简单同族:
CN100399130C | CN1231801C | CN1527106A | CN1755445A | JP2004271786A | JP4308553B2 | US20040174478A1 | US20060007376A1 | US20070008454A1 | US20070171343A1 | US20090103028A1 | US6970218 | US7126659 | US7221422 | US7471361 | US7728932
简单同族成员数量:
16
简单同族被引用专利总数:
63
诉讼案件数:
0
法律状态/事件:
授权 | 权利转移