首页
专利数据库
产业人才
行业动态
产业政策法规
维权援助
个人中心
登录/注册
详情
文本
图像
标题:
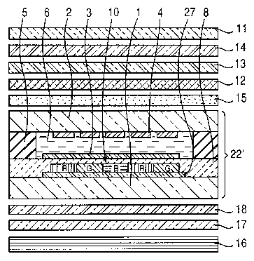
Liquid-crystal display
授权日:
2003-04-22
公开(公告)号:
US6552767
申请日:
2000-02-15
公开(公告)日:
2003-04-22
当前申请(专利权)人:
CITIZEN WATCH CO., LTD.
发明人:
KANEKO, YASUSHI
简单同族:
CN1214278C | CN1294698A | DE60005760D1 | EP1072926A1 | EP1072926A4 | EP1072926B1 | JP3612024B2 | JPWO2000048039A1 | KR1020010042012A | US6552767 | WO2000048039A1
简单同族成员数量:
11
简单同族被引用专利总数:
95
诉讼案件数:
0
法律状态/事件:
未缴年费 | 权利转移