首页
专利数据库
产业人才
行业动态
产业政策法规
维权援助
个人中心
登录/注册
详情
文本
图像
标题:
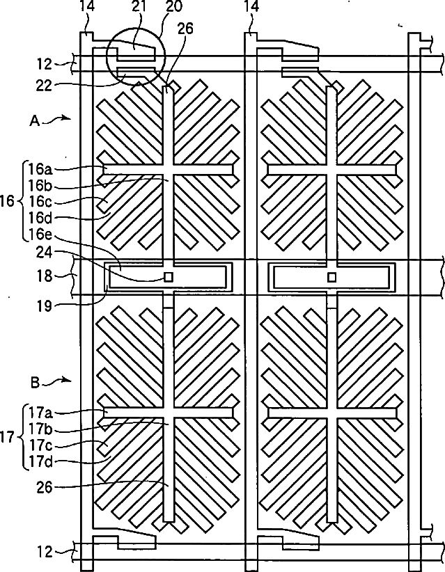
Liquid crystal display device
授权日:
1900-01-01
公开(公告)号:
US20070097279A1
申请日:
2006-05-23
公开(公告)日:
2007-05-03
当前申请(专利权)人:
SHARP KABUSHIKI KAISHA
发明人:
SUGIURA, NORIO
简单同族:
JP2006330137A | JP4557800B2 | KR100809189B1 | KR1020060121720A | TW200707039A | TWI344572B | US20070097279A1
简单同族成员数量:
7
简单同族被引用专利总数:
51
诉讼案件数:
0
法律状态/事件:
撤回 | 权利转移