首页
专利数据库
产业人才
行业动态
产业政策法规
维权援助
个人中心
登录/注册
详情
文本
图像
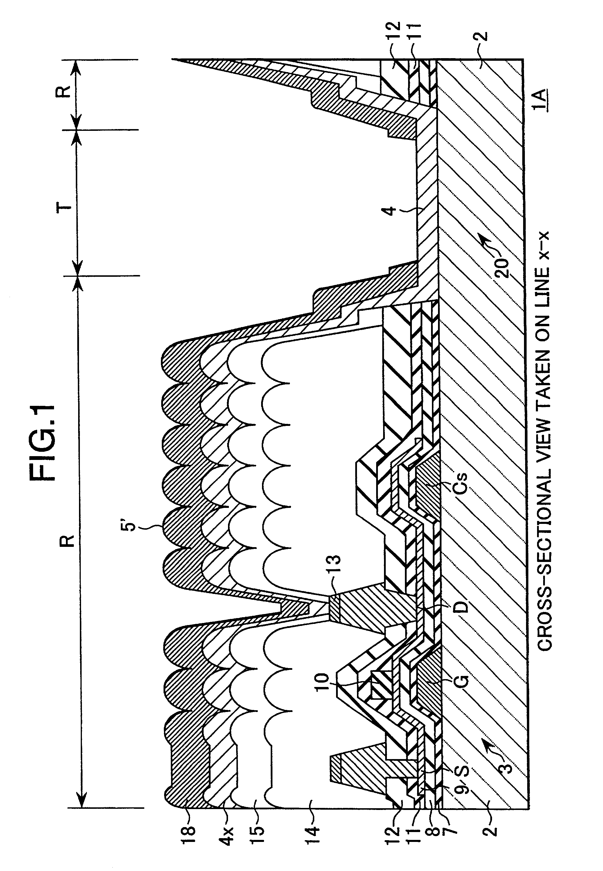
标题:
Liquid crystal display device
授权日:
1900-01-01
公开(公告)号:
US20020033918A1
申请日:
2001-06-08
公开(公告)日:
2002-03-21
当前申请(专利权)人:
SONY CORPORATION
发明人:
SHIGENO, NOBUYUKI | TSURUTA, MAKI | KIDA, YOSHITOSHI
简单同族:
JP2001350158A | JP4815659B2 | KR1020020014993A | US20020033918A1
简单同族成员数量:
4
简单同族被引用专利总数:
134
诉讼案件数:
0
法律状态/事件:
撤回 | 权利转移