首页
专利数据库
产业人才
行业动态
产业政策法规
维权援助
个人中心
登录/注册
详情
文本
图像
标题:
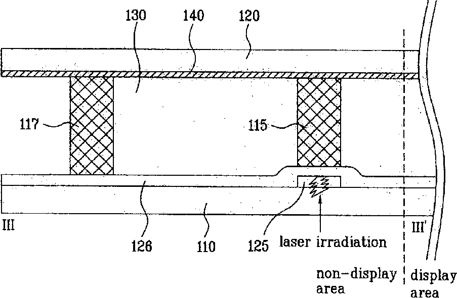
Liquid crystal display device and repairing method thereof
授权日:
1900-01-01
公开(公告)号:
US20050219454A1
申请日:
2004-09-22
公开(公告)日:
2005-10-06
当前申请(专利权)人:
LG DISPLAY CO., LTD.
发明人:
LEE, SUN AH
简单同族:
CN100465741C | CN1677205A | KR100652057B1 | KR1020050097727A | US20050219454A1 | US20080094563A1 | US7180566 | US7808600
简单同族成员数量:
8
简单同族被引用专利总数:
91
诉讼案件数:
0
法律状态/事件:
未缴年费 | 权利转移