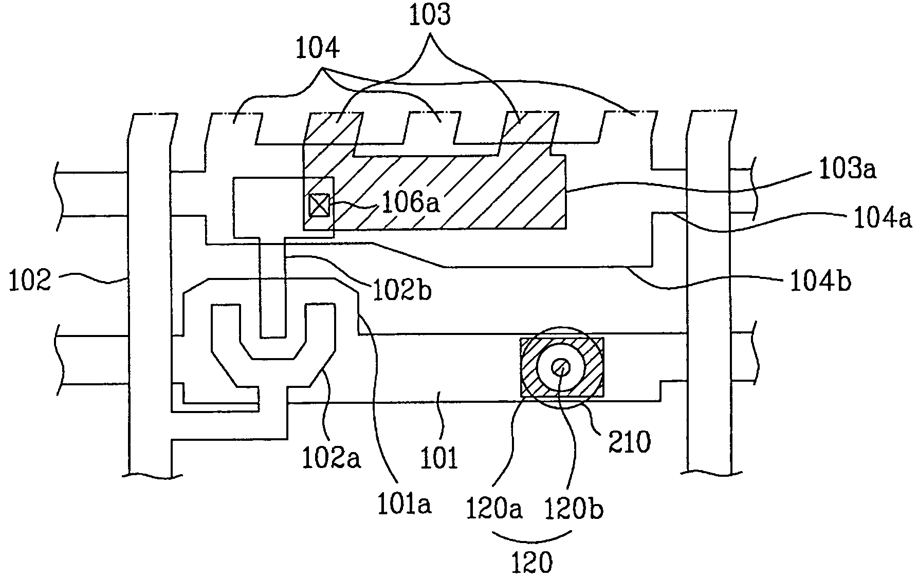
标题:
Liquid crystal display device, method for manufacturing the same and spacer structure
授权日:
2009-04-14
公开(公告)号:
US7518695
申请日:
2006-06-30
公开(公告)日:
2009-04-14
当前申请(专利权)人:
LG DISPLAY CO., LTD.
发明人:
CHO, SUK HO | YUN, JE PIL
简单同族:
CN100507658C | CN1940659A | DE102006028993A1 | DE102006028993B4 | FR2891376A1 | FR2891376B1 | GB0612962D0 | GB2430758A | GB2430758B | JP2007094372A | JP4578443B2 | KR101157954B1 | KR1020070035820A | TW200712631A | TWI342968B | US20070070286A1 | US7518695
简单同族成员数量:
17
简单同族被引用专利总数:
53
诉讼案件数:
0
法律状态/事件:
授权 | 权利转移