标题:
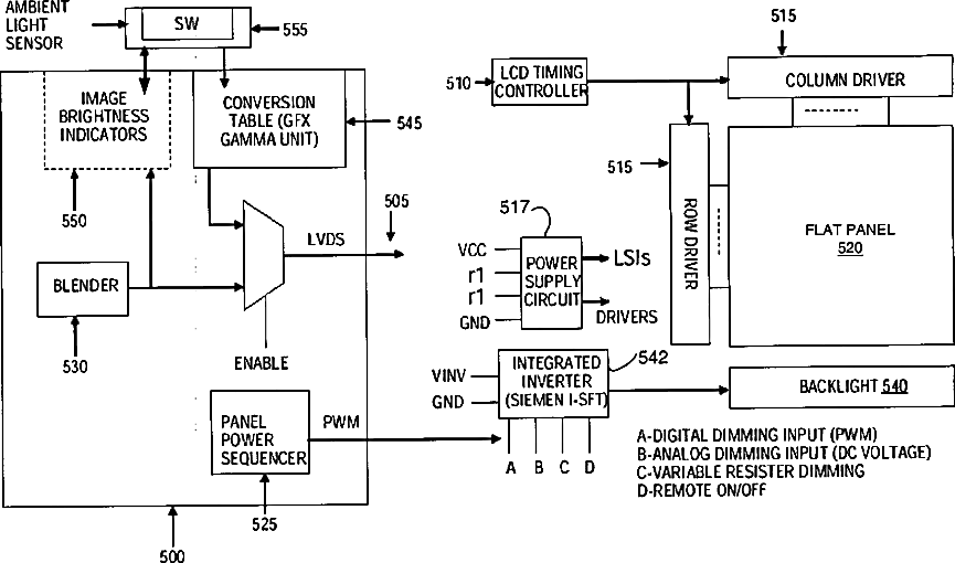
Real-time dynamic design of liquid crystal display (LCD) panel power management through brightness control
授权日:
1900-01-01
公开(公告)号:
US20040160435A1
申请日:
2003-02-14
公开(公告)日:
2004-08-19
当前申请(专利权)人:
INTEL CORPORATION
发明人:
CUI, YING | JENSEN, RICHARD W. | WYATT, DAVID | KUCHIBHOTLA, VENU M. | SADHASIVAN, SATHYAMURTHI | WITTER, TODD M.
简单同族:
CN100483500C | CN1521723A | EP1593111A2 | JP2006517303A | JP2006517303A5 | JP4732171B2 | KR100866424B1 | KR1020050097546A | TW200416648A | TWI270838B | US20040160435A1 | US7348957 | WO2004075155A2 | WO2004075155A3
简单同族成员数量:
14
简单同族被引用专利总数:
160
诉讼案件数:
0
法律状态/事件:
授权 | 权利转移