首页
专利数据库
产业人才
行业动态
产业政策法规
维权援助
个人中心
登录/注册
详情
文本
图像
标题:
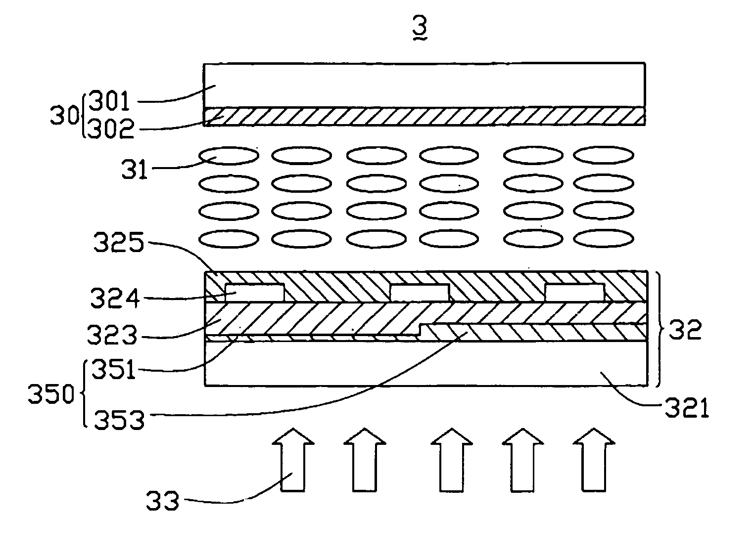
Transflective fringe field switching liquid crystal display
授权日:
1900-01-01
公开(公告)号:
US20050128390A1
申请日:
2004-11-24
公开(公告)日:
2005-06-16
当前申请(专利权)人:
INNOLUX CORPORATION
发明人:
YANG, CHIU-LIEN
简单同族:
CN100376932C | CN1627134A | US20050128390A1
简单同族成员数量:
3
简单同族被引用专利总数:
79
诉讼案件数:
0
法律状态/事件:
撤回 | 权利转移