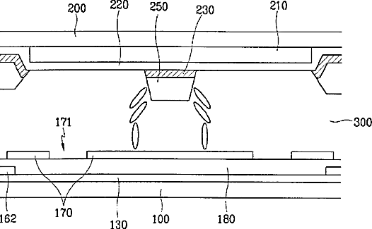
标题:
Liquid crystal display and substrate thereof
授权日:
2010-09-21
公开(公告)号:
US7800725
申请日:
2001-05-11
公开(公告)日:
2010-09-21
当前申请(专利权)人:
SAMSUNG DISPLAY CO., LTD.
发明人:
NA, BYOUNG-SUN | YOON, JONG-SOO
简单同族:
JP2002014349A | JP2011081427A | JP5371163B2 | JP5419904B2 | KR100612994B1 | KR1020010104067A | US20010040656A1 | US20080192198A1 | US7714960 | US7800725
简单同族成员数量:
10
简单同族被引用专利总数:
79
诉讼案件数:
0
法律状态/事件:
授权 | 权利转移