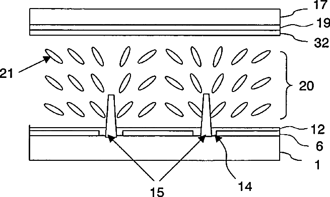
标题:
Liquid crystal display apparatus comprising wall portions formed in a plurality of openings or cut-out portions of an electrode
授权日:
2007-08-07
公开(公告)号:
US7253872
申请日:
2004-09-29
公开(公告)日:
2007-08-07
当前申请(专利权)人:
SHARP KABUSHIKI KAISHA
发明人:
KUME, YASUHIRO | NAGAE, NOBUKAZU | TAMAI, KAZUHIKO | ONISHI, NORIAKI | OKAMOTO, TAKAAKI
简单同族:
CN100410775C | CN1603892A | KR100721891B1 | KR1020050031444A | TW200513756A | TWI266939B | US20050068482A1 | US20070273799A1 | US7253872 | US7443475
简单同族成员数量:
10
简单同族被引用专利总数:
70
诉讼案件数:
0
法律状态/事件:
未缴年费 | 权利转移