首页
专利数据库
产业人才
行业动态
产业政策法规
维权援助
个人中心
登录/注册
详情
文本
图像
标题:
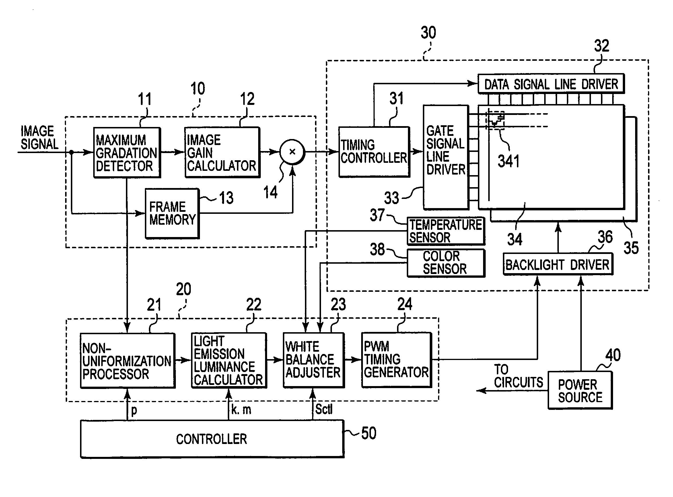
Liquid crystal display device and image display method thereof
授权日:
1900-01-01
公开(公告)号:
US20100039440A1
申请日:
2009-04-29
公开(公告)日:
2010-02-18
当前申请(专利权)人:
JVC KENWOOD CORPORATION
发明人:
TANAKA, NAOYUKI | OHSHIMA, YOSHINORI
简单同族:
EP2154673A2 | EP2154673A3 | JP2010044180A | KR101016186B1 | KR1020100020413A | US20100039440A1
简单同族成员数量:
6
简单同族被引用专利总数:
53
诉讼案件数:
0
法律状态/事件:
撤回 | 权利转移