首页
专利数据库
产业人才
行业动态
产业政策法规
维权援助
个人中心
登录/注册
详情
文本
图像
标题:
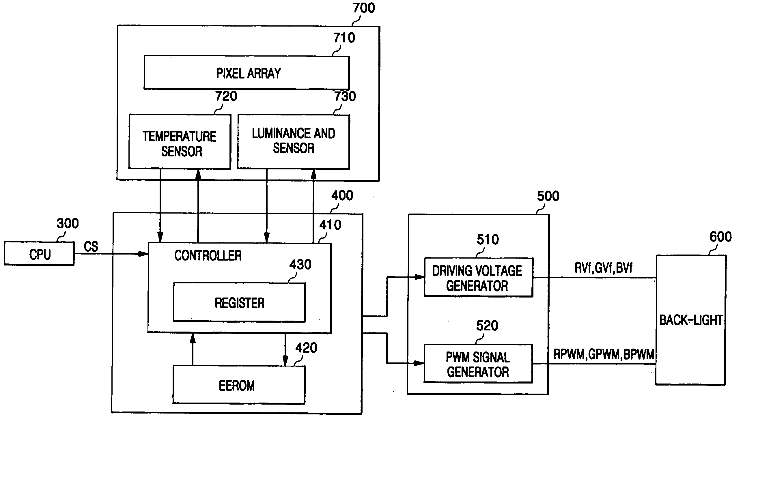
Field sequential liquid crystal display
授权日:
1900-01-01
公开(公告)号:
US20050116921A1
申请日:
2004-11-29
公开(公告)日:
2005-06-02
当前申请(专利权)人:
SAMSUNG MOBILE DISPLAY CO., LTD.
发明人:
KIM, TAE-SOO
简单同族:
CN100360999C | CN1621903A | JP2005157387A | JP3884040B2 | KR100741963B1 | KR1020050051501A | US20050116921A1 | US7728808
简单同族成员数量:
8
简单同族被引用专利总数:
90
诉讼案件数:
0
法律状态/事件:
未缴年费 | 权利转移