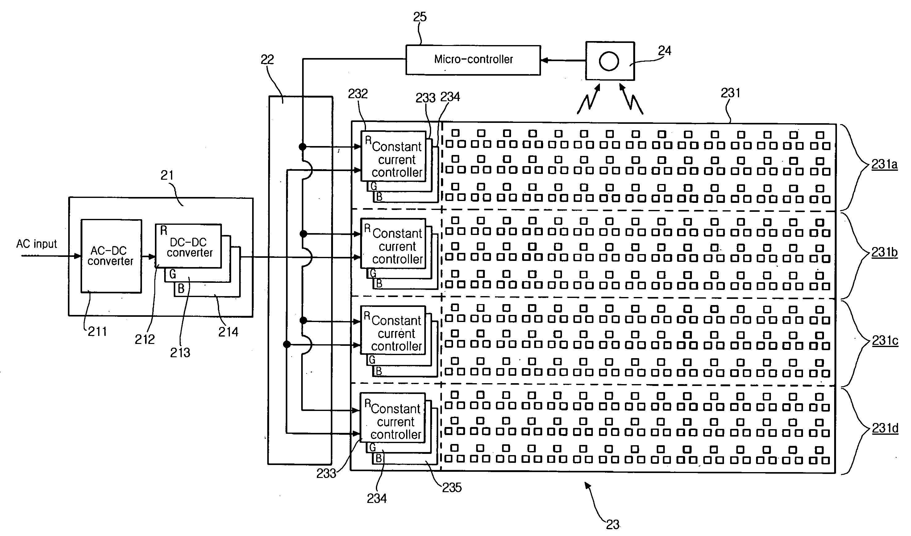
标题:
Liquid crystal display backlight driving system with light emitting diodes
授权日:
1900-01-01
公开(公告)号:
US20080002102A1
申请日:
2007-05-30
公开(公告)日:
2008-01-03
当前申请(专利权)人:
SAMSUNG ELECTRONICS CO., LTD.
发明人:
LEE, SANG YUN
简单同族:
JP2008009416A | JP4934507B2 | KR100799869B1 | KR1020080001049A | NL2000668A | NL2000668C | TW200809756A | TWI370435B | US20080002102A1 | US8077137
简单同族成员数量:
10
简单同族被引用专利总数:
54
诉讼案件数:
0
法律状态/事件:
未缴年费 | 权利转移