标题:
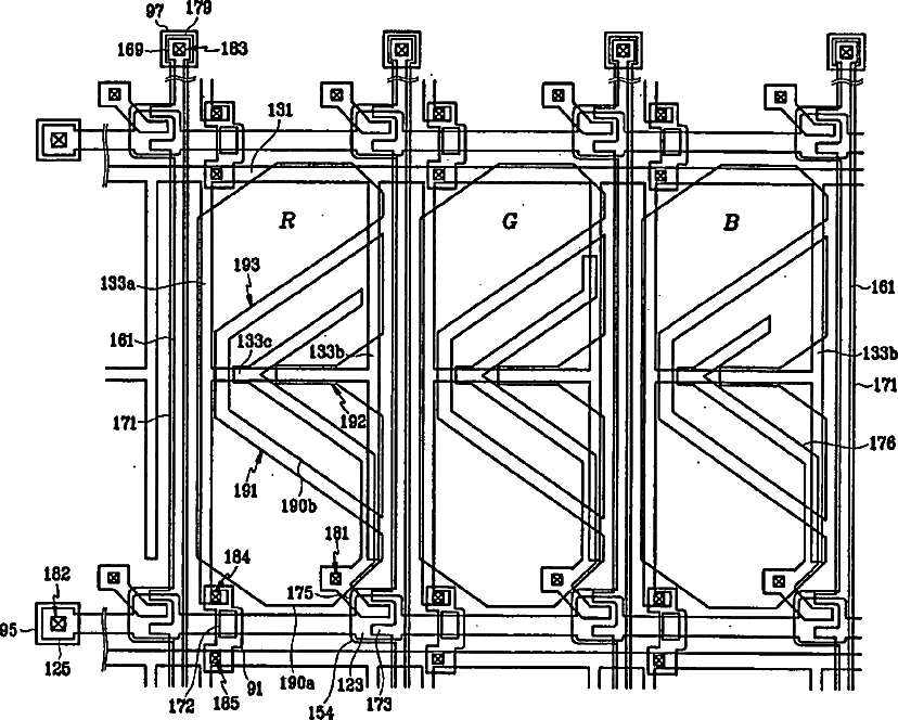
Thin film transistor array panel
授权日:
1900-01-01
公开(公告)号:
US20050030439A1
申请日:
2004-08-03
公开(公告)日:
2005-02-10
当前申请(专利权)人:
SAMSUNG DISPLAY CO., LTD.
发明人:
LYU, JAE-JIN
简单同族:
CN100430805C | CN1580922A | JP2005055896A | JP4707980B2 | KR100980016B1 | KR1020050016834A | TW200532920A | TWI354375B | US20050030439A1 | US20060274219A1 | US7113233 | US7339634
简单同族成员数量:
12
简单同族被引用专利总数:
131
诉讼案件数:
0
法律状态/事件:
未缴年费 | 权利转移