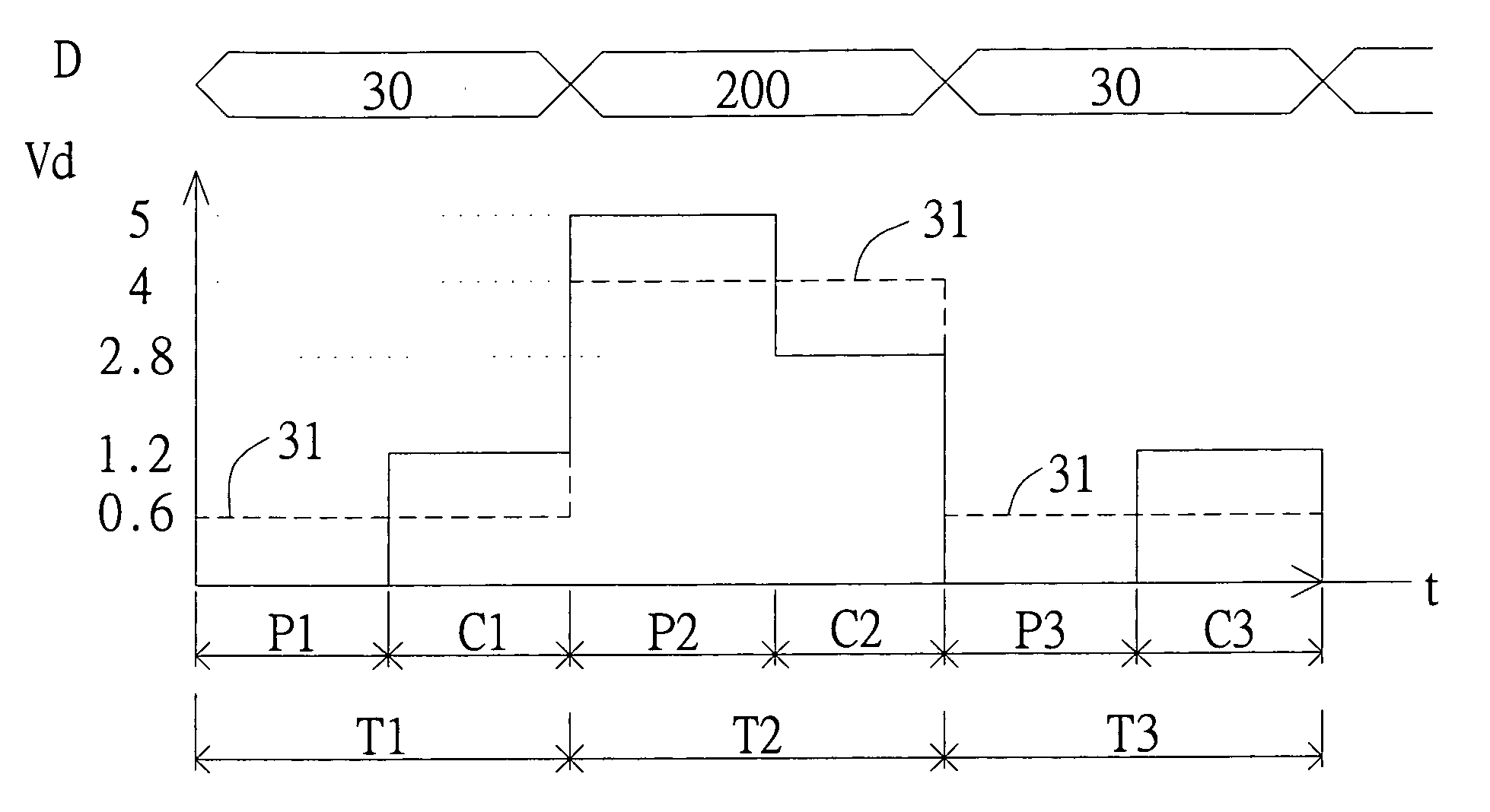
标题:
Liquid crystal display driving apparatus and method thereof
授权日:
1900-01-01
公开(公告)号:
US20080211753A1
申请日:
2007-11-30
公开(公告)日:
2008-09-04
当前申请(专利权)人:
AU OPTRONICS CORP.
发明人:
TSAI, CHUNG-KUANG | LYU, LI-RU
简单同族:
JP2004361943A | JP4204512B2 | TW200426772A | TWI259992B | US20040246224A1 | US20070013630A1 | US20080211753A1 | US20090189886A1 | US20110199347A1 | US20130249892A1 | US7532186 | US7742030 | US8866712 | US8884859
简单同族成员数量:
14
简单同族被引用专利总数:
81
诉讼案件数:
0
法律状态/事件:
撤回