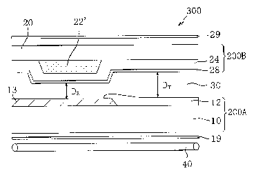
标题:
Liquid crystal display device
授权日:
2006-11-28
公开(公告)号:
US7142272
申请日:
2004-10-26
公开(公告)日:
2006-11-28
当前申请(专利权)人:
SHARP KABUSHIKI KAISHA
发明人:
FUJIMORI, KOHICHI | NARUTAKI, YOZO
简单同族:
CN1196960C | CN1410815A | JP2004085986A | JP4368096B2 | KR100529264B1 | KR1020030028726A | TW591270B | US20030117551A1 | US20050083457A1 | US6847426 | US7142272
简单同族成员数量:
11
简单同族被引用专利总数:
110
诉讼案件数:
0
法律状态/事件:
授权