首页
专利数据库
产业人才
行业动态
产业政策法规
维权援助
个人中心
登录/注册
详情
文本
图像
标题:
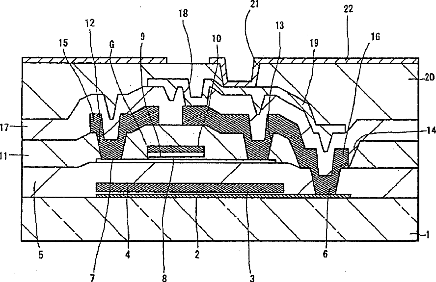
Liquid crystal display device and its manufacturing method
授权日:
2003-12-09
公开(公告)号:
US6661476
申请日:
2000-08-18
公开(公告)日:
2003-12-09
当前申请(专利权)人:
SONY CORPORATION
发明人:
ABE, FUMIAKI | SATO, TAKUSEI
简单同族:
JP2001066638A | JP4403329B2 | KR100670965B1 | KR1020010021069A | US6661476
简单同族成员数量:
5
简单同族被引用专利总数:
79
诉讼案件数:
0
法律状态/事件:
未缴年费 | 权利转移