标题:
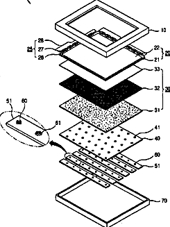
Backlight unit and liquid crystal display having the same
授权日:
2010-01-19
公开(公告)号:
US7649593
申请日:
2006-04-06
公开(公告)日:
2010-01-19
当前申请(专利权)人:
SAMSUNG DISPLAY CO., LTD.
发明人:
YOON, JU-YOUNG | KIM, GI-CHERL | KIM, HYUN-JIN | LEE, SANG-YU
简单同族:
CN100517020C | CN1854859A | EP1717633A1 | JP2006310319A | JP4332539B2 | KR101158897B1 | KR1020060113174A | TW200639527A | US20060244879A1 | US7649593
简单同族成员数量:
10
简单同族被引用专利总数:
75
诉讼案件数:
0
法律状态/事件:
授权 | 权利转移