首页
专利数据库
产业人才
行业动态
产业政策法规
维权援助
个人中心
登录/注册
详情
文本
图像
标题:
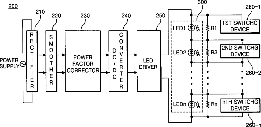
Backlight assembly driving apparatus for liquid crystal display
授权日:
2010-02-16
公开(公告)号:
US7663598
申请日:
2006-06-29
公开(公告)日:
2010-02-16
当前申请(专利权)人:
LG DISPLAY CO., LTD.
发明人:
KIM, PU JIN
简单同族:
CN100550106C | CN101030356A | KR101243427B1 | KR1020070090566A | US20070205977A1 | US7663598
简单同族成员数量:
6
简单同族被引用专利总数:
53
诉讼案件数:
0
法律状态/事件:
授权 | 权利转移