首页
专利数据库
产业人才
行业动态
产业政策法规
维权援助
个人中心
登录/注册
详情
文本
图像
标题:
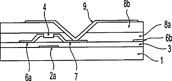
Liquid crystal display device and process for producing same
授权日:
2008-01-22
公开(公告)号:
US7321413
申请日:
2002-08-08
公开(公告)日:
2008-01-22
当前申请(专利权)人:
GOLD CHARM LIMITED
发明人:
NAKATA, SHINICHI
简单同族:
JP1999307778A | JP3230664B2 | KR100326821B1 | KR1019990083412A | US20020191124A1 | US6466279 | US7321413
简单同族成员数量:
7
简单同族被引用专利总数:
72
诉讼案件数:
0
法律状态/事件:
未缴年费 | 权利转移