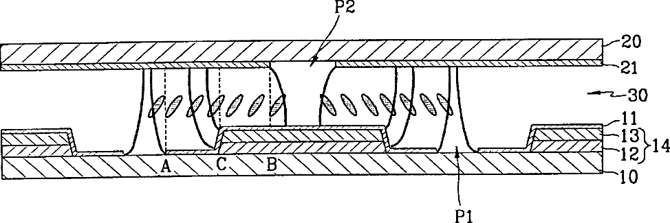
标题:
Vertically aligned liquid crystal display
授权日:
2003-05-27
公开(公告)号:
US6570636
申请日:
2002-06-05
公开(公告)日:
2003-05-27
当前申请(专利权)人:
SAMSUNG DISPLAY CO., LTD.
发明人:
KIM, JAE-HOON | SONG, JANG-KUN
简单同族:
JP2002055347A | JP4854138B2 | KR100709709B1 | KR1020020010214A | US20020030781A1 | US20020180921A1 | US20030197822A1 | US20040196424A1 | US6424396 | US6570636 | US6724451 | US7006185
简单同族成员数量:
12
简单同族被引用专利总数:
66
诉讼案件数:
0
法律状态/事件:
授权 | 权利转移