标题:
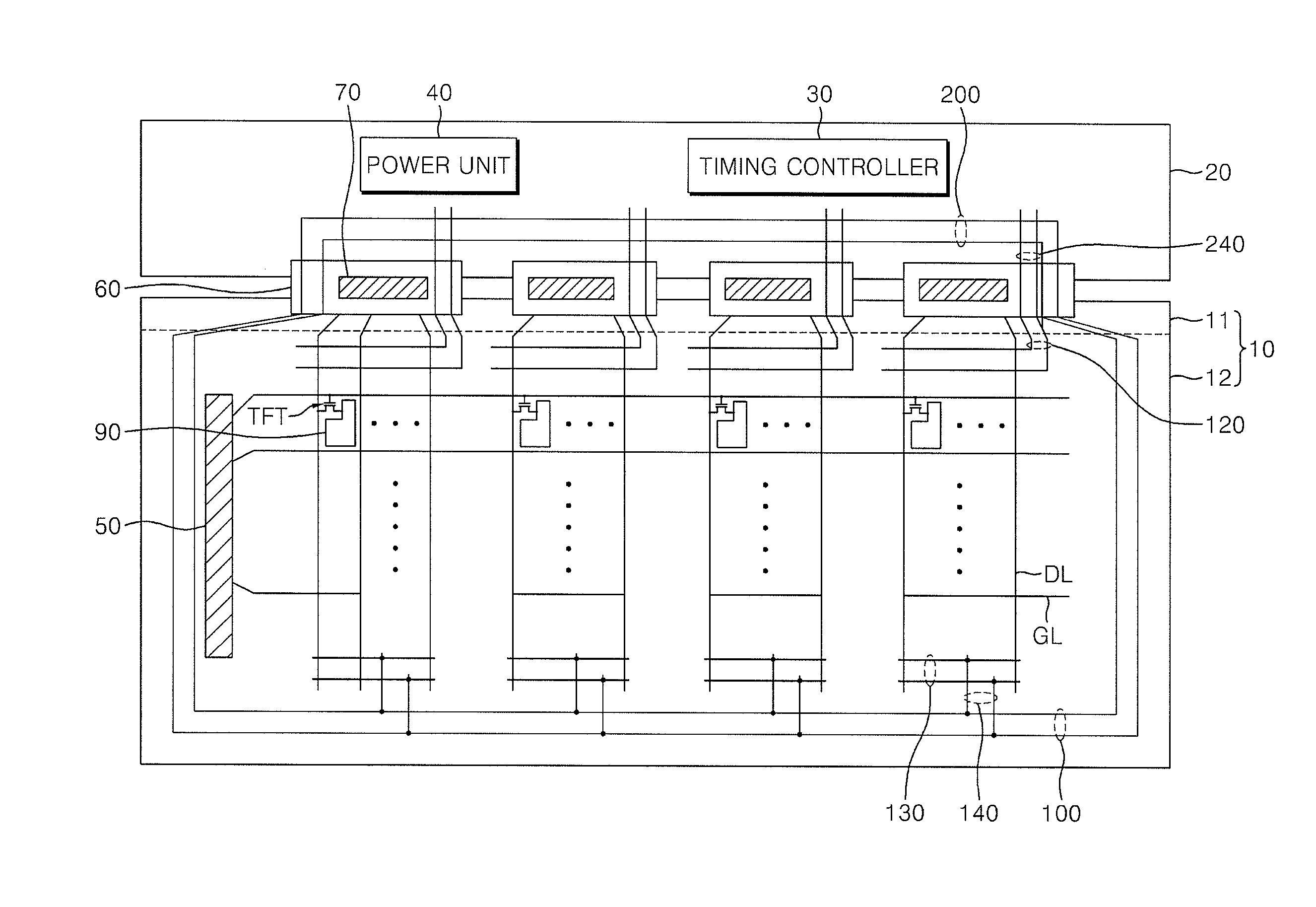
Display substrate, liquid crystal display device including the same, and method of repairing the same
授权日:
1900-01-01
公开(公告)号:
US20090284679A1
申请日:
2007-10-31
公开(公告)日:
2009-11-19
当前申请(专利权)人:
SAMSUNG DISPLAY CO., LTD.
发明人:
KIM, DUK SUNG | CHO, SUNG HAENG
简单同族:
CN101211026A | CN101211026B | JP2008165237A | JP5505755B2 | KR101347846B1 | KR1020080060499A | TW200839391A | TWI447497B | US20090284679A1 | US20110146066A1 | US7911552 | US7995184
简单同族成员数量:
12
简单同族被引用专利总数:
77
诉讼案件数:
0
法律状态/事件:
授权 | 权利转移