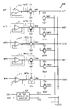
标题:
Source driver output circuit of thin film transistor liquid crystal display
授权日:
2005-10-11
公开(公告)号:
US6954192
申请日:
2002-10-30
公开(公告)日:
2005-10-11
当前申请(专利权)人:
SAMSUNG ELECTRONICS CO., LTD.
发明人:
KIM, KI-JOON
简单同族:
JP2003228353A | JP2009104173A | KR100438784B1 | KR1020030065699A | TW200302448A | TW577041B | US20030142050A1 | US20060071898A1 | US6954192 | US7821485
简单同族成员数量:
10
简单同族被引用专利总数:
59
诉讼案件数:
0
法律状态/事件:
授权 | 权利转移