首页
专利数据库
产业人才
行业动态
产业政策法规
维权援助
个人中心
登录/注册
详情
文本
图像
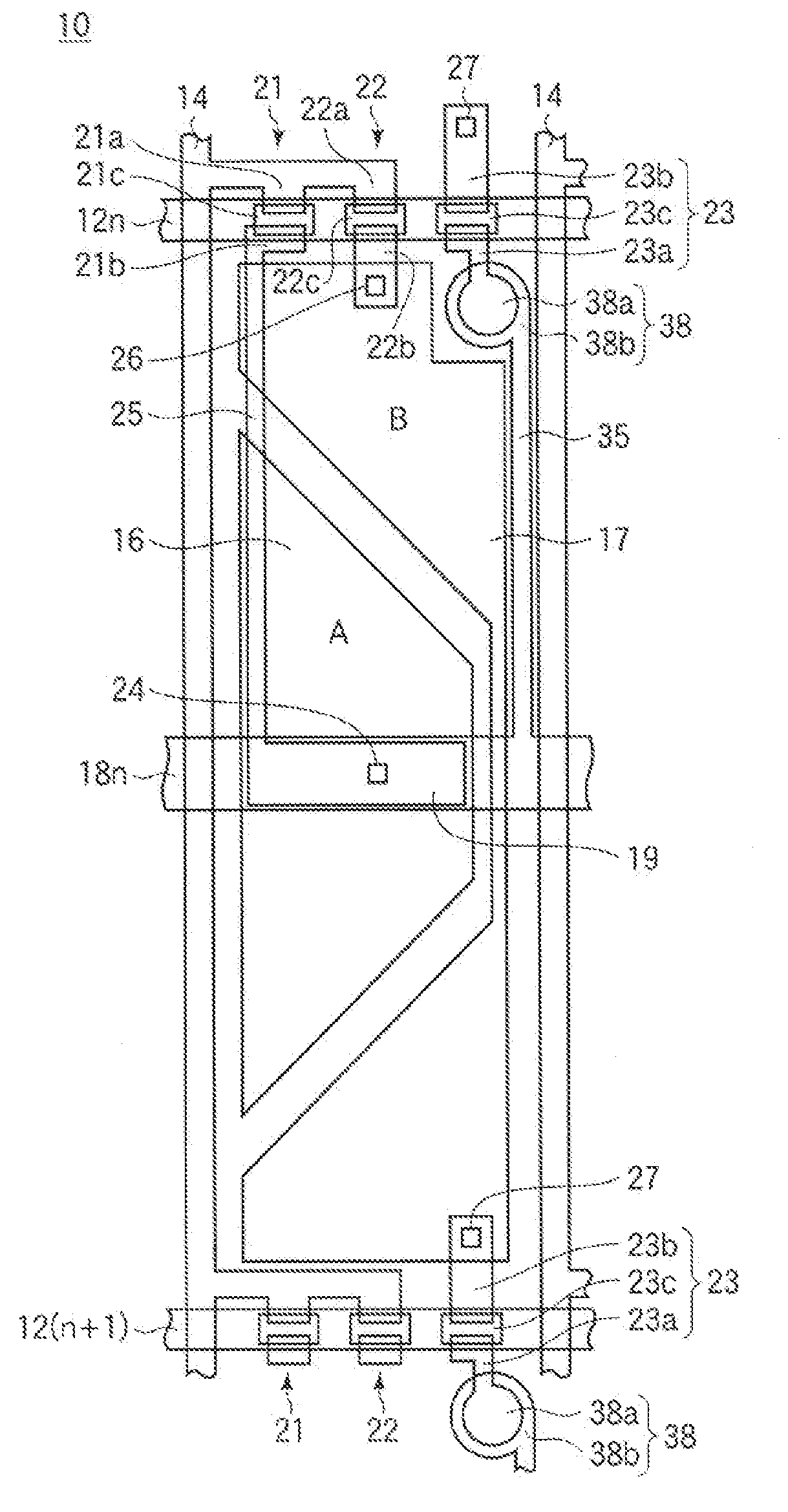
标题:
Liquid crystal display device
授权日:
1900-01-01
公开(公告)号:
US20060290827A1
申请日:
2006-05-25
公开(公告)日:
2006-12-28
当前申请(专利权)人:
SHARP KABUSHIKI KAISHA
发明人:
KIHARA, MASAHIRO | TAGUCHI, YOSHIHISA
简单同族:
JP2006330634A | JP4731206B2 | US20060290827A1
简单同族成员数量:
3
简单同族被引用专利总数:
69
诉讼案件数:
0
法律状态/事件:
撤回 | 权利转移