标题:
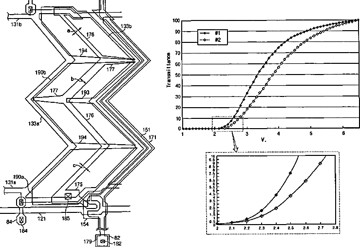
Liquid crystal display having predetermined steepness of light transmittance within a predetermined range on light transmittance gradient for improved visibility
授权日:
2008-05-27
公开(公告)号:
US7379143
申请日:
2004-12-29
公开(公告)日:
2008-05-27
当前申请(专利权)人:
SAMSUNG DISPLAY CO., LTD.
发明人:
LYU, JAE-JIN
简单同族:
KR101026810B1 | KR1020050068538A | US20050179631A1 | US7379143
简单同族成员数量:
4
简单同族被引用专利总数:
89
诉讼案件数:
0
法律状态/事件:
未缴年费 | 权利转移