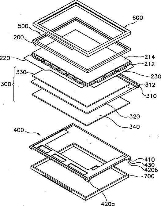
标题:
Liquid crystal display device having a wire securing member
授权日:
1900-01-01
公开(公告)号:
US20050243240A1
申请日:
2005-07-06
公开(公告)日:
2005-11-03
当前申请(专利权)人:
SAMSUNG DISPLAY CO., LTD.
发明人:
CHOI, SEONG-SIK | KWON, GONG-SUB
简单同族:
CN100354718C | CN1387076A | JP2002350851A | JP4896325B2 | KR100805127B1 | KR1020020088137A | US20020171784A1 | US20050243240A1 | US20050243241A1 | US20080117353A1 | US6919938 | US7193665 | US7330224 | US7787070
简单同族成员数量:
14
简单同族被引用专利总数:
95
诉讼案件数:
0
法律状态/事件:
未缴年费 | 权利转移