首页
专利数据库
产业人才
行业动态
产业政策法规
维权援助
个人中心
登录/注册
详情
文本
图像
标题:
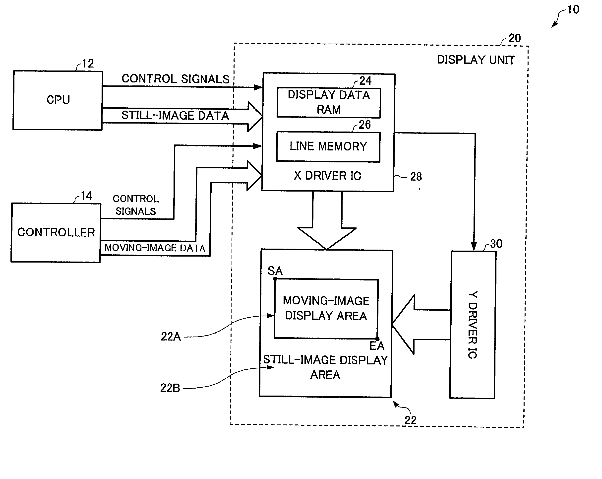
Display driver, display unit, and electronic instrument
授权日:
1900-01-01
公开(公告)号:
US20020113781A1
申请日:
2002-02-07
公开(公告)日:
2002-08-22
当前申请(专利权)人:
SEIKO EPSON CORPORATION
发明人:
ISHIYAMA, HISANOBU
简单同族:
JP2002323881A | JP3578141B2 | KR100443324B1 | KR1020020068951A | TW525135B | US20020113781A1 | US6930675
简单同族成员数量:
7
简单同族被引用专利总数:
54
诉讼案件数:
0
法律状态/事件:
未缴年费 | 权利转移