标题:
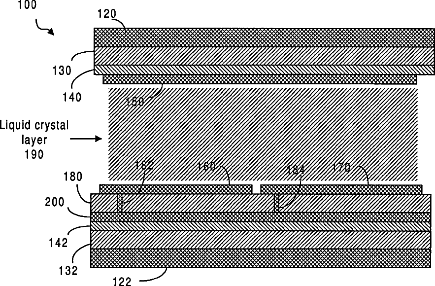
Transflective liquid crystal display
授权日:
1900-01-01
公开(公告)号:
US20070268418A1
申请日:
2007-07-25
公开(公告)日:
2007-11-22
当前申请(专利权)人:
AU OPTRONICS CORPORATION
发明人:
LIN, CHING-HUAN | TSAI, CHING-YU
简单同族:
CN100378521C | CN1800930A | JP2006343733A | JP4597906B2 | TW200643522A | TWI310855B | US20060274008A1 | US20070268418A1 | US7286192 | US7567312
简单同族成员数量:
10
简单同族被引用专利总数:
88
诉讼案件数:
0
法律状态/事件:
授权