首页
专利数据库
产业人才
行业动态
产业政策法规
维权援助
个人中心
登录/注册
详情
文本
图像
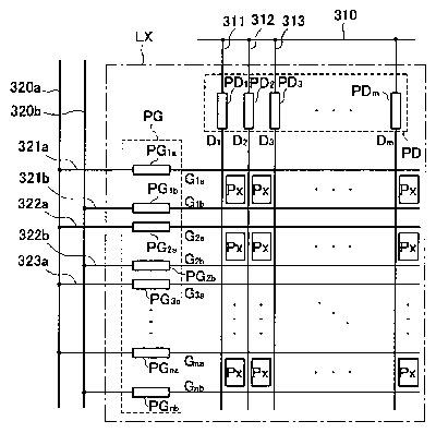
标题:
Liquid crystal display and test method thereof
授权日:
2010-04-27
公开(公告)号:
US7705924
申请日:
2006-02-22
公开(公告)日:
2010-04-27
当前申请(专利权)人:
SAMSUNG DISPLAY CO., LTD.
发明人:
KIM, DONG-GYU
简单同族:
US20060186913A1 | US20100213969A1 | US7705924 | US7847872
简单同族成员数量:
4
简单同族被引用专利总数:
61
诉讼案件数:
0
法律状态/事件:
未缴年费 | 权利转移