首页
专利数据库
产业人才
行业动态
产业政策法规
维权援助
个人中心
登录/注册
详情
文本
图像
标题:
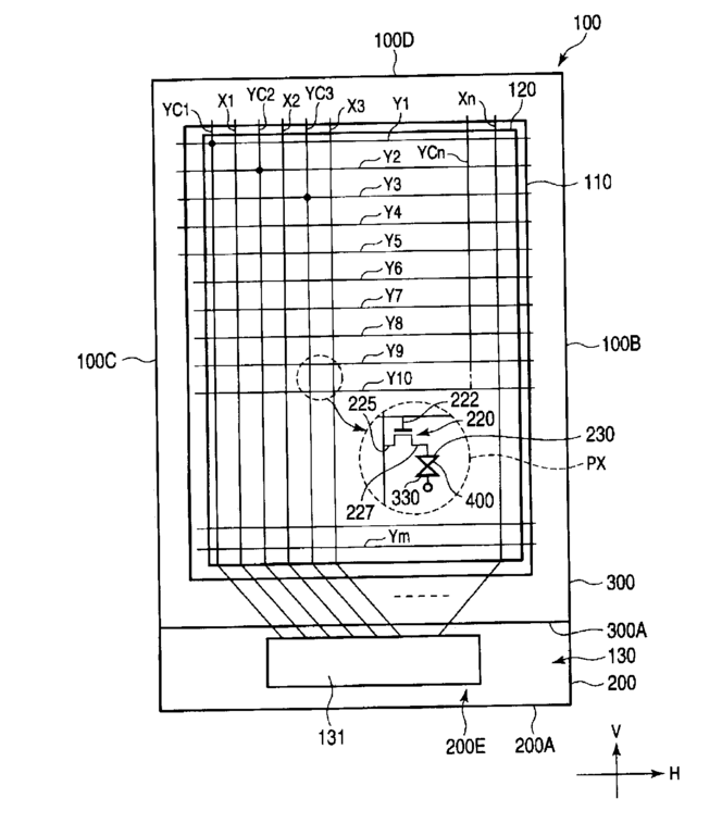
Liquid crystal display device
授权日:
1900-01-01
公开(公告)号:
US20100066967A1
申请日:
2009-09-17
公开(公告)日:
2010-03-18
当前申请(专利权)人:
JAPAN DISPLAY CENTRAL INC.
发明人:
TAKAHASHI, KAZUHIRO | NONAKA, MASANOBU | ANDO, MASANORI | SUNOHARA, KAZUYUKI
简单同族:
US20100066967A1 | US8363192
简单同族成员数量:
2
简单同族被引用专利总数:
91
诉讼案件数:
0
法律状态/事件:
授权 | 权利转移