首页
专利数据库
产业人才
行业动态
产业政策法规
维权援助
个人中心
登录/注册
详情
文本
图像
标题:
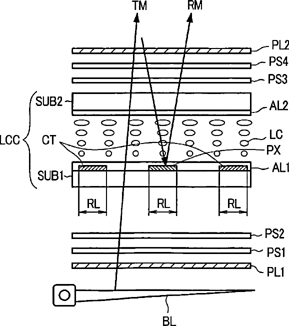
Liquid crystal display device
授权日:
1900-01-01
公开(公告)号:
US20060092356A1
申请日:
2005-10-04
公开(公告)日:
2006-05-04
当前申请(专利权)人:
HITACHI DISPLAYS, LTD.
发明人:
MORIMOTO, MASATERU | IMAYAMA, HIROTAKA | OCHIAI, TAKAHIRO | ITOU, OASAMU
简单同族:
CN1766700A | JP2006126551A | KR1020060052259A | TW200628883A | TWI279616B | US20060092356A1
简单同族成员数量:
6
简单同族被引用专利总数:
70
诉讼案件数:
0
法律状态/事件:
撤回 | 权利转移