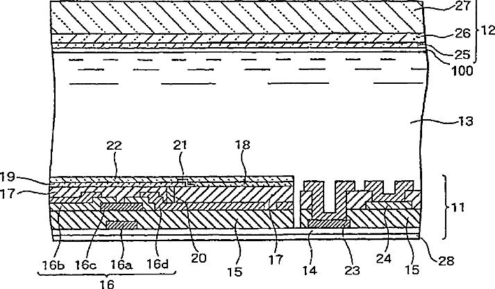
标题:
Semi-transmission type liquid crystal display which reflects incident light coming from outside to provide a display light source and transmits light from a light source at the back
授权日:
2008-05-06
公开(公告)号:
US7369200
申请日:
2005-09-28
公开(公告)日:
2008-05-06
当前申请(专利权)人:
NLT TECHNOLOGIES, LTD.
发明人:
IKENO, HIDENORI | SUZUKI, MASAYOSHI
简单同族:
CN100529922C | CN1402065A | JP2003057639A | JP4689900B2 | KR100491372B1 | KR1020030017372A | TW583427B | US20030038908A1 | US20050094068A1 | US20060066782A1 | US20070211186A1 | US20080198312A1 | US6831715 | US7369200 | US7649597
简单同族成员数量:
15
简单同族被引用专利总数:
75
诉讼案件数:
0
法律状态/事件:
授权 | 权利转移