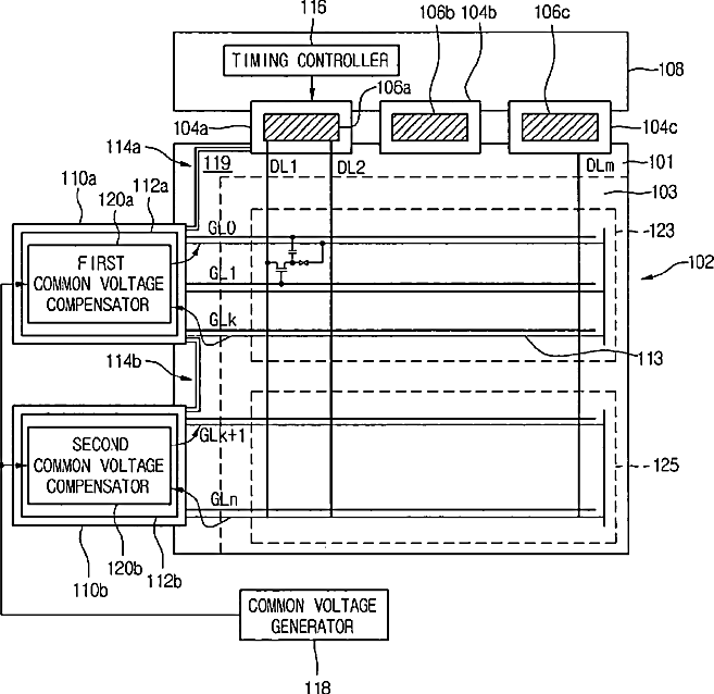
标题:
Liquid crystal display device for compensating a common voltage and the method of driving the same
授权日:
2011-10-25
公开(公告)号:
US8044900
申请日:
2005-12-28
公开(公告)日:
2011-10-25
当前申请(专利权)人:
LG DISPLAY CO., LTD.
发明人:
KIM, DO YOUNG | KANG, EUN KYEONG
简单同族:
FR2888031A1 | FR2888031B1 | KR101167314B1 | KR1020070001507A | US20070002005A1 | US8044900
简单同族成员数量:
6
简单同族被引用专利总数:
81
诉讼案件数:
0
法律状态/事件:
授权 | 权利转移