标题:
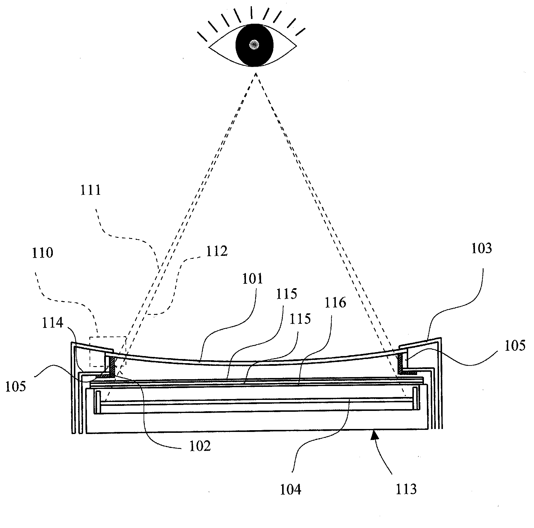
Curved Liquid-Crystal Display Device, and Method for the Forming and Installation of Reflective Plate/Sheet for Curved Liquid-Crystal Display Device
授权日:
1900-01-01
公开(公告)号:
US20070146616A1
申请日:
2006-06-14
公开(公告)日:
2007-06-28
当前申请(专利权)人:
INFOVISION OPTOELECTRONICS HOLDINGS LIMITED
发明人:
NOUCHI, MASANORI | MATSUDA, FUMITOSHI | HASHIBA, HIROMITSU
简单同族:
CN100445833C | CN1987591A | JP2007171658A | JP4481245B2 | US20070146616A1 | US7609355
简单同族成员数量:
6
简单同族被引用专利总数:
58
诉讼案件数:
0
法律状态/事件:
授权 | 权利转移