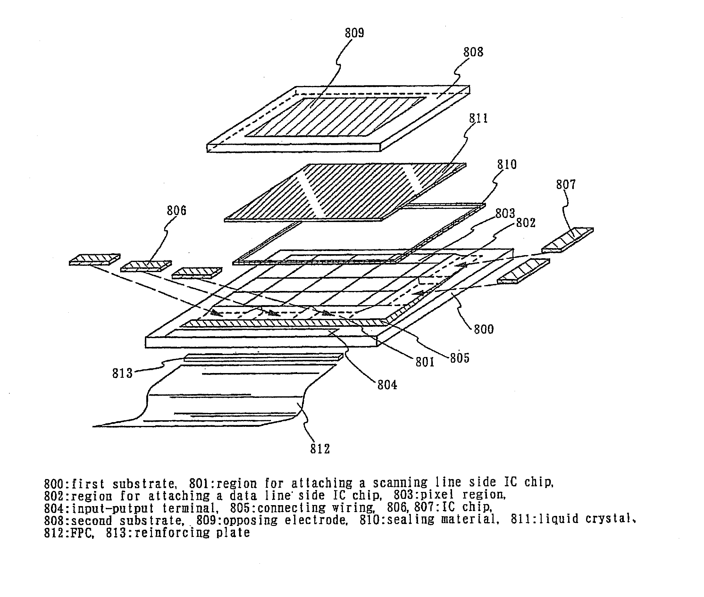
标题:
Liquid crystal display device and manufacturing method thereof
授权日:
1900-01-01
公开(公告)号:
US20100195013A1
申请日:
2010-04-12
公开(公告)日:
2010-08-05
当前申请(专利权)人:
SEMICONDUCTOR ENERGY LABORATORY CO., LTD.
发明人:
YAMAZAKI, SHUNPEI | HIRAKATA, YOSHIHARU
简单同族:
JP2001264807A | JP2001264807A5 | JP4393662B2 | KR100858005B1 | KR100864599B1 | KR100896144B1 | KR1020010090500A | KR1020060031661A | KR1020070091596A | TW508628B | US20070146568A1 | US20100195013A1 | US20130215352A1 | US7714975 | US8421985 | US8558983
简单同族成员数量:
16
简单同族被引用专利总数:
130
诉讼案件数:
0
法律状态/事件:
期限届满