首页
专利数据库
产业人才
行业动态
产业政策法规
维权援助
个人中心
登录/注册
详情
文本
图像
标题:
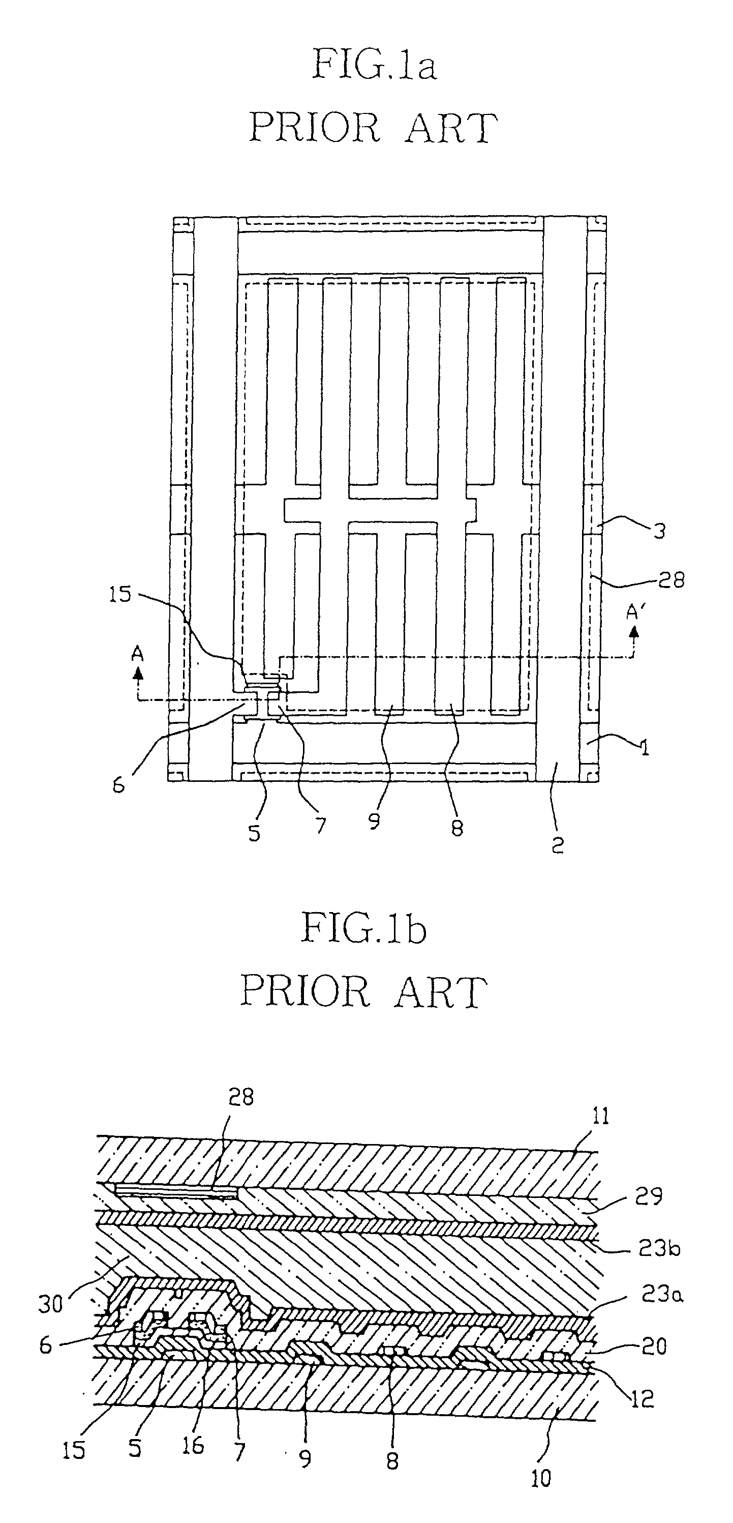
In-plane switching mode liquid crystal display device
授权日:
1900-01-01
公开(公告)号:
US20010002146A1
申请日:
2001-01-03
公开(公告)日:
2001-05-31
当前申请(专利权)人:
LG DISPLAY CO., LTD.
发明人:
KOMATSU, HIROSHI
简单同族:
KR100251512B1 | KR1019990009891A | US20010002146A1 | US20020060769A1 | US6259502 | US6384888 | US6741312
简单同族成员数量:
7
简单同族被引用专利总数:
109
诉讼案件数:
0
法律状态/事件:
期限届满 | 权利转移